Forum |  HardWare.fr | News | Articles | PC | S'identifier | S'inscrire | Shop Recherche
3117 connectés 

 


 Mot :   Pseudo :  
  Aller à la page :
 
 Page :   1  2  3  4  5  6  7  ..  37  38  39  40  41  42
Auteur Sujet :

[Topic unique] Starlink -

n°1151915
TheCreator
zwiiiii and then shbrouk tak
Posté le 27-01-2021 à 16:53:41  profilanswer
 

Reprise du message précédent :
:jap:
 
ça consiste en quoi, un peu de propellant pour juste ralentir ce qu'il faut ?


---------------
La superstition c'est comme ceux qui réparent les fauteuils, il faut que le bois qu'ils rajoutent soit à peu près comme l'autre bois sinon ça se voit trop.
mood
Publicité
Posté le 27-01-2021 à 16:53:41  profilanswer
 

n°1151916
TheCreator
zwiiiii and then shbrouk tak
Posté le 27-01-2021 à 16:54:17  profilanswer
 

ah j'ai juste regardé les schemas et pas lu le texte :D


---------------
La superstition c'est comme ceux qui réparent les fauteuils, il faut que le bois qu'ils rajoutent soit à peu près comme l'autre bois sinon ça se voit trop.
n°1152930
Nanaki
Posté le 04-02-2021 à 22:19:59  profilanswer
 

fredo3 a écrit :

C'est peu 40°C


Modèle spécifique au quebec/Canada only [:zinbou:2]

n°1152940
cypresvert
Posté le 05-02-2021 à 00:28:34  profilanswer
 


10.000 clients/beta testeurs.
https://www.cnbc.com/2021/02/04/spa [...] users.html
 

n°1153195
artiflo
Un est tout, tout est un.
Posté le 07-02-2021 à 16:32:05  profilanswer
 

Une antenne Starlink a été observé sur les algeco présent à coté de la Gigafactory Tesla en cours de construction proche de Berlin.
 
Ce qui fait donc à ma connaissance la première observation en union européenne.
 
EDIT : Je viens de voir que c'était issue de cette vidéo sur la construction de la Gigafactory : https://youtu.be/FR-JOd72maU?t=487
 
https://www.artiflo.org/images/starlink/539yt3qkjuf61.jpg


Message édité par artiflo le 07-02-2021 à 16:39:15
n°1153198
artiflo
Un est tout, tout est un.
Posté le 07-02-2021 à 17:09:39  profilanswer
 

Petit update avec le lancement de Starlink L18 le 4 Février 2021 :
 
Total lancé : 1085
Total désorbité : 64 (dont 47 v0.9)
Total en orbite : 1021

n°1153215
XaTriX
Posté le 07-02-2021 à 20:39:14  profilanswer
 

https://www.leparisien.fr/amp/scien [...] 423546.php

 

...


---------------
Proxytaf ? porn, xxx, hentai, camgirl, onlyfans, torrent, warez, crack, keygen, serials, darknet, tor, vpn, proxy, hacktool, metasploit, sql injection, password list, brute force, cp, gore, deepweb
n°1153217
artiflo
Un est tout, tout est un.
Posté le 07-02-2021 à 21:19:46  profilanswer
 

Et encore leparisen ça va à peu prêt, ils ont pas relayer tout le délire du maire et de certain de ses administrés.
 
J'ai déjà ragé sur un autre forum sur un article du même sujet mais cette fois-ci de france TV Infos, je pense qu'en matière de nullité journalistique on est pas mal : https://france3-regions.francetvinf [...] 41358.html
 
J'en peu plus de ce ton alarmiste presque systématique et ce mélange de tout est n'importe quoi, la journaliste aurait fait 10min de recherche Google elle n'aurai pas pondu cette bouse.

n°1153219
XaTriX
Posté le 07-02-2021 à 21:39:42  profilanswer
 

Mon dieu c'est quoi ce débile


---------------
Proxytaf ? porn, xxx, hentai, camgirl, onlyfans, torrent, warez, crack, keygen, serials, darknet, tor, vpn, proxy, hacktool, metasploit, sql injection, password list, brute force, cp, gore, deepweb
n°1153226
artiflo
Un est tout, tout est un.
Posté le 07-02-2021 à 23:13:30  profilanswer
 

Mais ce n'est pas que le maire mais aussi les élu écolo du coin, on se croirait il y a 70 ans en arrière avec les premiers TGV.
 
Entre la journaliste qui écris un article à charge completement pété et les élus du coin débile au possible c'est une calamité.
 
Mais bon quand tu vois le niveau de la journaliste de France 3 https://twitter.com/alexhuctin1972, ça explique des choses, mais ça m'emmerde que son délire soit financé avec de l'argent publique.
 
Elle aurait fait de la documentation, aller 10 min de recherche google, elle aurait pas relayé autant de connerie, même BFMTV a traité le sujet de façon presque correct : https://www.bfmtv.com/economie/entr [...] 60080.html
 
Je passe les imagines d'illustration (où apparait la Gigafactory de Tesla qui n'a rien à voir avec la choucroute) mais voila ce l'article de France 3 donne :  
 
https://www.artiflo.org/images/starlink/224115.jpg
[:elena gates:2]
 
https://www.artiflo.org/images/starlink/224437.jpg
[:kabouik:5]
 
https://www.artiflo.org/images/starlink/224202.jpg
https://www.artiflo.org/images/starlink/224343.jpg
[:max evans]
 
https://www.artiflo.org/images/starlink/224258.jpg
[:mooonblood]
 
https://www.artiflo.org/images/starlink/224505.jpg
[:liammanziel:5]
 
Rappel pour ceux qui ont pas suivi on parle de l'installation de quelque chose comme ça pour les fondation mais je cite "des travaux gigantesque qui vont être mené en sous-sol):
https://www.artiflo.org/images/starlink/5r3afmt0d9851.jpg
 
Pour donner quelque chose qui ressemble à ça quand il y a à 8 radome :
https://www.artiflo.org/images/starlink/igf7649b1kx51.jpg
https://www.artiflo.org/images/starlink/ltcrv1v12kx51.jpg
 
Et pas du putain teleport de Rambouillet bordel [:prozac] :
https://www.artiflo.org/images/starlink/5101.jpg


Message édité par artiflo le 07-02-2021 à 23:23:17
mood
Publicité
Posté le 07-02-2021 à 23:13:30  profilanswer
 

n°1153227
XaTriX
Posté le 07-02-2021 à 23:17:44  profilanswer
 

je parle de françois, à foutre au four direct
 
après tant pis pour ces débiles, un autre bled profitera du truc et puis voilà
le gland de journaliste il s'en fout de jouer à wikipédia, il donne à becter ce que le lecteur veut finalement :D


---------------
Proxytaf ? porn, xxx, hentai, camgirl, onlyfans, torrent, warez, crack, keygen, serials, darknet, tor, vpn, proxy, hacktool, metasploit, sql injection, password list, brute force, cp, gore, deepweb
n°1153232
SCEtoAUX
413 is in.
Posté le 08-02-2021 à 02:09:50  profilanswer
 

Citation :

C'est une question de vigilance sanitaire. Quels sont les risques éventuels ? Et l'impact sur la biodiversité, sur nos élevages ? Nous n'avons obtenu de réponse à aucune de ces questions. »


 
 [:sophiste:1]


---------------
Above all, rating a spacecraft is more than a set of requirements, a process, or a certification. It involves a mindset, instilled by leadership, where each person feels personally responsible for their piece of the design and for the safety of the crew.
n°1153233
fredo3
Posté le 08-02-2021 à 04:52:31  profilanswer
 

Les maires qui pensent qu'ils auront des antennes de la taille d'Arecibo :D

 

Le mieux c'est d'envoyer un mail argumenté à France 3. C'est pas possible de publier de telles bêtises quand même, sur une chaîne publique de surcroît.


Message édité par fredo3 le 08-02-2021 à 04:58:02
n°1153239
TheCreator
zwiiiii and then shbrouk tak
Posté le 08-02-2021 à 09:13:08  profilanswer
 

le journalisme est mort [:spamafote]


---------------
La superstition c'est comme ceux qui réparent les fauteuils, il faut que le bois qu'ils rajoutent soit à peu près comme l'autre bois sinon ça se voit trop.
n°1153317
verdoux
And I'm still waiting
Posté le 08-02-2021 à 17:06:16  profilanswer
 

SCEtoAUX a écrit :

Citation :

C'est une question de vigilance sanitaire. Quels sont les risques éventuels ? Et l'impact sur la biodiversité, sur nos élevages ? Nous n'avons obtenu de réponse à aucune de ces questions. »


 
 [:sophiste:1]


Ca va faire tourner le lait des vaches  
 [:tkz:1]

n°1153364
toTOW
http://www.fah-addict.net/
Posté le 09-02-2021 à 00:22:19  profilanswer
 

Quand j'ai vu l'article qui parlait de station "terrienne", j'ai senti qu'on était partis sur une autre planète ... :whistle:


---------------
[b] FAH-Addict, première source d'information francophone sur le projet Folding@Home.  
n°1153453
Ydalb
In Crêpes n' Cidre I Trust!
Posté le 09-02-2021 à 18:17:30  profilanswer
 

Qui a pre-order ici au fait ? :o Je veux dire, à part moi ? :o


Message édité par Ydalb le 09-02-2021 à 18:17:42

---------------
:o
n°1153461
artiflo
Un est tout, tout est un.
Posté le 09-02-2021 à 18:52:13  profilanswer
 

Effectivement, l'ouverture des Pre-order a 99$ a démarré avec comme pour Tesla la règle du premier arrivé premier servi.
 

Citation :

Starlink is targeting coverage in your area in mid to late 2021. Availability is limited. Orders will be fulfilled on a first-come, first-served basis.


 
https://www.artiflo.org/images/starlink/pre-order-starlink.jpg
 

n°1153464
20Boy
muck rocket such wow
Posté le 09-02-2021 à 19:04:09  profilanswer
 

Faut dire à XaT que ça sert à rien pour lui, le moindre sat connecté à son antenne va tomber tout droit :o

n°1153465
XaTriX
Posté le 09-02-2021 à 19:10:08  profilanswer
 

Url ?


---------------
Proxytaf ? porn, xxx, hentai, camgirl, onlyfans, torrent, warez, crack, keygen, serials, darknet, tor, vpn, proxy, hacktool, metasploit, sql injection, password list, brute force, cp, gore, deepweb
n°1153466
XaTriX
Posté le 09-02-2021 à 19:12:38  profilanswer
 

https://www.starlink.com/
Ok
Ça dit pas le prix du pack et de l'abo :o


---------------
Proxytaf ? porn, xxx, hentai, camgirl, onlyfans, torrent, warez, crack, keygen, serials, darknet, tor, vpn, proxy, hacktool, metasploit, sql injection, password list, brute force, cp, gore, deepweb
n°1153470
artiflo
Un est tout, tout est un.
Posté le 09-02-2021 à 19:36:40  profilanswer
 

Je suis hésitation ils viennent de tirer le PBO il y a 1 mois dans ma rue. [:clooney11]

n°1153505
toTOW
http://www.fah-addict.net/
Posté le 09-02-2021 à 22:48:38  profilanswer
 

Si ça passe en précommande, on peut considérer que la beta est finie ?


---------------
[b] FAH-Addict, première source d'information francophone sur le projet Folding@Home.  
n°1153506
Ydalb
In Crêpes n' Cidre I Trust!
Posté le 09-02-2021 à 22:49:02  profilanswer
 

XaTriX a écrit :

https://www.starlink.com/
Ok
Ça dit pas le prix du pack et de l'abo :o


Ça va être 99€/mois et 400€ le pack. Je suis pas sûr de maintenir ma commande :o Mais la fibre arrive que entre 2023-2026, et la je suis en ADSL @ 10Mbits @ 50ms, ce qui est quand même presque convenable :o
 
Mais je suis un peu hyper faut dire :o

Message cité 1 fois
Message édité par Ydalb le 09-02-2021 à 22:49:30

---------------
:o
n°1153508
XaTriX
Posté le 09-02-2021 à 22:58:46  profilanswer
 

C'est trop cher pour moi, doit avoir de l'engagement en plus je suppose.
En plus ma maison est "encavé", entourée d'immeubles plus haut. Donc ça serait pas optimal comme ciel, en plus d'être en hyper centre d'une grande ville.
 
En passant, j'ai récupéré le topic 4G/alternatives aux cables il y'a quelques temps déjà, j'avais viré le sat à l'ancienne et là j'hésitais à revenir sur le sat @ starlink.
J'imagine que plutôt je link ici non ?


---------------
Proxytaf ? porn, xxx, hentai, camgirl, onlyfans, torrent, warez, crack, keygen, serials, darknet, tor, vpn, proxy, hacktool, metasploit, sql injection, password list, brute force, cp, gore, deepweb
n°1153513
moua
Full wormage
Posté le 09-02-2021 à 23:24:37  profilanswer
 

artiflo a écrit :

Je suis hésitation ils viennent de tirer le PBO il y a 1 mois dans ma rue. [:clooney11]


 
c'est remboursable :o

n°1153530
fredo3
Posté le 10-02-2021 à 07:41:54  profilanswer
 

Ydalb a écrit :


Ça va être 99€/mois et 400€ le pack. Je suis pas sûr de maintenir ma commande :o Mais la fibre arrive que entre 2023-2026, et la je suis en ADSL @ 10Mbits @ 50ms, ce qui est quand même presque convenable :o
 
Mais je suis un peu hyper faut dire :o


C'est totalement hors de prix. Qui est prêt à payer 1200€ par an pour avoir internet chez lui?  :pt1cable:
(N'importe où en Europe d'ailleurs)
 
Je préférais encore avoir des connexions simultanées en 4G, de différents opérateurs.

Message cité 1 fois
Message édité par fredo3 le 10-02-2021 à 07:43:56
n°1153536
Andorria
Posté le 10-02-2021 à 08:50:49  profilanswer
 

fredo3 a écrit :


C'est totalement hors de prix. Qui est prêt à payer 1200€ par an pour avoir internet chez lui? :pt1cable:
(N'importe où en Europe d'ailleurs)

 

Je préférais encore avoir des connexions simultanées en 4G, de différents opérateurs.

 

Quand tu as le choix ADSL 2mbps à 40€ ou ça,  [:zeroz]

 

n°1153708
moee
Posté le 11-02-2021 à 08:39:12  profilanswer
 

C'est tout de même une aubaine en France cette techno. Pouvoir aller vivre partout sur le territoire sans plus te poser la question si tu vas finir avec un débit anémique. Certes c'est très cher mais comme dit au dessus, parfois faut savoir quelles sont ses priorités.
On va réduire la fracture numérique de manière drastique.

n°1153720
AdHoc
Posté le 11-02-2021 à 09:19:30  profilanswer
 

Le contenu de ce message a été effacé par son auteur

n°1153721
fredo3
Posté le 11-02-2021 à 09:23:02  profilanswer
 

AdHoc a écrit :

Je connais pas leur stratégie, mais peut-on imaginer une baisse de coût, comme récemment chez Tesla ?


Sur l'abonnement peut-être. La caution sur le matos, je doute vue la complexité du circuit.

n°1153732
franckyvin​vin12
Posté le 11-02-2021 à 10:31:16  profilanswer
 

fredo3 a écrit :


Sur l'abonnement peut-être. La caution sur le matos, je doute vue la complexité du circuit.


Il y aura ptet des économies d'échelle non ? Après ce coût de 500 dollars c'est un bon moyen de fideliser :o

n°1153733
artiflo
Un est tout, tout est un.
Posté le 11-02-2021 à 10:34:24  profilanswer
 

Plusieurs expert ont estimé le cout de l'antenne de 2000 à 2500$ alors qu'ils la vendent à 500$.

n°1153738
fredo3
Posté le 11-02-2021 à 11:35:15  profilanswer
 

franckyvinvin12 a écrit :


Il y aura ptet des économies d'échelle non ?


Non pas trop, c'est vraiment la quantité et type de composants qui est problématique.

 

Ils ont 2 solutions pour réduire les coûts:
1. Sortir une antenne plus petite (avec moins d'éléments), ce qui est envisageable quand la constellation sera complète.
2. Faire fabriquer certains composants in-house, au lieu d'acheter chez ST Micro :o. Ils le font déjà pour l'ordinateur des Tesla.

 

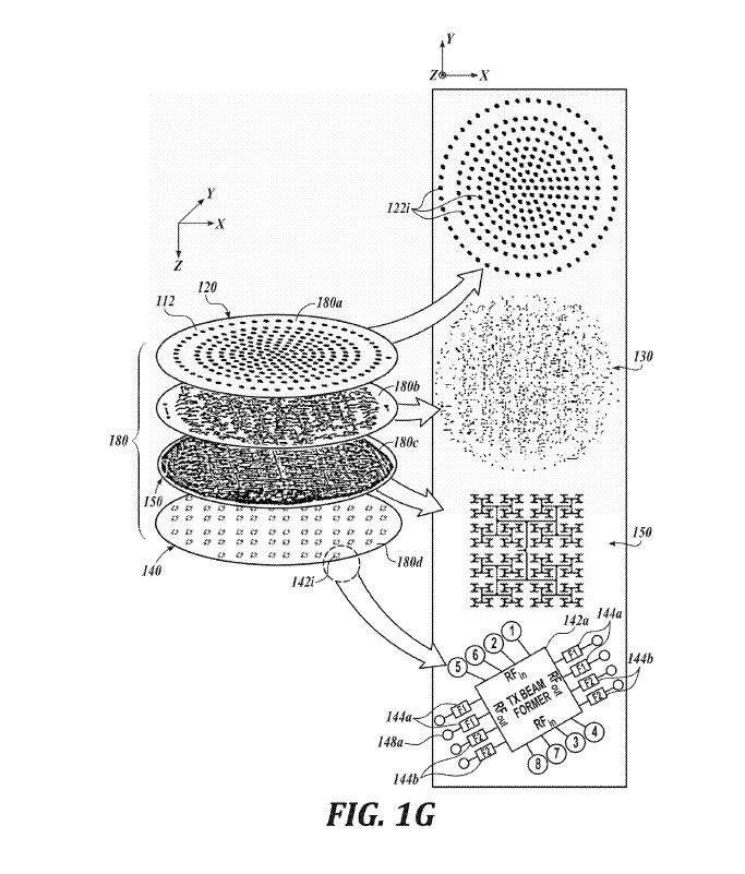
https://cdn.arstechnica.net/wp-content/uploads/2020/12/starlink-25-back-of-phased-array-pcb-1440x827.jpg

Message cité 1 fois
Message édité par fredo3 le 11-02-2021 à 11:44:24
n°1153740
artiflo
Un est tout, tout est un.
Posté le 11-02-2021 à 11:42:58  profilanswer
 

Exact et la photo d'illustration que tu as donné ne montre qu'une (la plus chère certes) des 4 couches de composant.
 
https://www.artiflo.org/images/starlink/antenne-114053.jpg

n°1153742
franckyvin​vin12
Posté le 11-02-2021 à 12:00:25  profilanswer
 

fredo3 a écrit :


Non pas trop, c'est vraiment la quantité et type de composants qui est problématique.

 

Ils ont 2 solutions pour réduire les coûts:
1. Sortir une antenne plus petite (avec moins d'éléments), ce qui est envisageable quand la constellation sera complète.
2. Faire fabriquer certains composants in-house, au lieu d'acheter chez ST Micro :o. Ils le font déjà pour l'ordinateur des Tesla.

 

https://cdn.arstechnica.net/wp-cont [...] 40x827.jpg


OK je pensais pas que c'était complexe à ce point. A ce prix, les antennes ont intérêt à fonctionner pendant un paquet d'années pour qu'elles puissent être amorties.

n°1153755
XaTriX
Posté le 11-02-2021 à 12:44:16  profilanswer
 

moee a écrit :

C'est tout de même une aubaine en France cette techno. Pouvoir aller vivre partout sur le territoire sans plus te poser la question si tu vas finir avec un débit anémique. Certes c'est très cher mais comme dit au dessus, parfois faut savoir quelles sont ses priorités.
On va réduire la fracture numérique de manière drastique.


A 100€ par mois ? Ça va utiliser de la 4g box plutôt.

 

Par t'es itinérant, la ouais. Tu fous ça sur ton camping car / camtard pour voyager partout pendant genre un an :o


---------------
Proxytaf ? porn, xxx, hentai, camgirl, onlyfans, torrent, warez, crack, keygen, serials, darknet, tor, vpn, proxy, hacktool, metasploit, sql injection, password list, brute force, cp, gore, deepweb
n°1153758
Andorria
Posté le 11-02-2021 à 12:52:17  profilanswer
 

XaTriX a écrit :


A 100€ par mois ? Ça va utiliser de la 4g box plutôt.
 
Par t'es itinérant, la ouais. Tu fous ça sur ton camping car / camtard pour voyager partout pendant genre un an :o


 
de ce que j'ai lu, ils verrouillent l'utilisation sur une certaine zone
comme les 4g box en fait :o

n°1153759
XaTriX
Posté le 11-02-2021 à 12:58:33  profilanswer
 

Hmm


---------------
Proxytaf ? porn, xxx, hentai, camgirl, onlyfans, torrent, warez, crack, keygen, serials, darknet, tor, vpn, proxy, hacktool, metasploit, sql injection, password list, brute force, cp, gore, deepweb
n°1153766
Nanaki
Posté le 11-02-2021 à 13:44:24  profilanswer
 

Bah ouai sinon avec un seul abonnement et une série d'antennes made in AliExpress tu pourrais équiper toute la famille en internet au quatre coins de la France [:mcsouss:1]

n°1154037
toTOW
http://www.fah-addict.net/
Posté le 13-02-2021 à 19:34:32  profilanswer
 

C'est comme les offres satellites actuelles, où tu est verrouillé au beam qui arrose ta zone de résidence ...


---------------
[b] FAH-Addict, première source d'information francophone sur le projet Folding@Home.  
mood
Publicité
Posté le   profilanswer
 

 Page :   1  2  3  4  5  6  7  ..  37  38  39  40  41  42

Aller à :
Ajouter une réponse
 

Sujets relatifs
Certificat SSL valide mais message d'erreur connexion non privéeLogiciel de controle et identification sur box privée
Infomaniak : hebergeur e-mails et vie privéedot11Expert - recherche beta testeurs
THD-SEINE reseau FTTH du 92 réattribué en 2015....qui est éligible?Webmail et vie privée
[Syno] debut difficile avec mon SynoFirstHeberg lance une offre Bêta de Cloud Computing
Nobb qui début avec son serveur, besoin d'aide A-Z 
Plus de sujets relatifs à : [Topic unique] Starlink -


Copyright © 1997-2025 Groupe LDLC (Signaler un contenu illicite / Données personnelles)