| |||||
| Auteur | Sujet : [Topic Unik] PS3 | La old-gen en a encore dans le ventre ! |
|---|---|
tcho bilout PSN : TchoBiloutTransactions (5) | Reprise du message précédent :
Message édité par tcho bilout le 19-07-2006 à 01:46:33 --------------- Je ne veux pas mettre de signature |
Publicité | Posté le 19-07-2006 à 01:44:57 ![]() ![]() |
the_big_poulet Flying chickenTransactions (0) | Exclusive interview with devleopers behind 'The Darkness'
|
Kurgan55 Je me suis déguiséTransactions (5) | Un dossier PS3 & Wii avec des videos sympa.
|
the_big_poulet Flying chickenTransactions (0) |
|
bichoco Transactions (0) | en même temps les sondages pour ce que ça vaut... |
bichoco Transactions (0) | lancement de la production de ps3 dans le courant du mois d'après cette news:
|
the_big_poulet Flying chickenTransactions (0) |
|
bichoco Transactions (0) | voilà:
|
the_big_poulet Flying chickenTransactions (0) |
|
bichoco Transactions (0) | mln est bien le diminutif de millions
Message cité 1 fois Message édité par bichoco le 19-07-2006 à 13:52:57 |
Publicité | Posté le 19-07-2006 à 13:51:38 ![]() ![]() |
benyby Un fasciste de merde !Transactions (0) |
|
JerryCrazy Le plus crazy des crazyTransactions (0) | A mon avis, c'est l'assemblage des composants sur le PCB
Message édité par JerryCrazy le 19-07-2006 à 15:18:53 |
la_lootre Transactions (0) |
--------------- Psn : bkn_panda || XBL : bkn Panda || Steam : bknpanda |
-VDV- Et pas DVD ! Lisez mieux !Transactions (0) |
|
la_lootre Transactions (0) |
--------------- Psn : bkn_panda || XBL : bkn Panda || Steam : bknpanda |
-VDV- Et pas DVD ! Lisez mieux !Transactions (0) |
|
CrowFix Official Special ForceTransactions (0) |
--------------- Ma collec de jeux - |
la_lootre Transactions (0) |
--------------- Psn : bkn_panda || XBL : bkn Panda || Steam : bknpanda |
CrowFix Official Special ForceTransactions (0) |
--------------- Ma collec de jeux - |
la_lootre Transactions (0) | ils ont rien respecté depuis le debut --------------- Psn : bkn_panda || XBL : bkn Panda || Steam : bknpanda |
okiron Virtua Fighter is backTransactions (6) | on va vraiment savoir d'ou viens l'entité noir ? (guerre secrete) ou ils vont nous faire un scénar tout pourrite |
Boba_Fett Transactions (1) | Ca dévie grave ici...
Message cité 2 fois Message édité par Boba_Fett le 19-07-2006 à 17:30:06 |
Profil supprimé Transactions (0) | Posté le 19-07-2006 à 17:37:05 ![]()
|
CrowFix Official Special ForceTransactions (0) |
--------------- Ma collec de jeux - |
LightKyle Transactions (0) | Y'a un Joce bug. |
la_lootre Transactions (0) |
Message cité 1 fois Message édité par la_lootre le 19-07-2006 à 17:50:32 --------------- Psn : bkn_panda || XBL : bkn Panda || Steam : bknpanda |
Profil supprimé Transactions (0) | Posté le 19-07-2006 à 17:54:32 ![]()
|
le hibou oiseau de mauvais augureTransactions (1) |
--------------- {ò,o} ¤ nimic n'a fost niciodată ¤ 부엉이 ¤ Steven Fify über alles §§ ¤ http://www.moto-trip.com/ |
la_lootre Transactions (0) |
--------------- Psn : bkn_panda || XBL : bkn Panda || Steam : bknpanda |
CrowFix Official Special ForceTransactions (0) |
Profil supprimé Transactions (0) | Posté le 19-07-2006 à 18:30:21 ![]()
|
le hibou oiseau de mauvais augureTransactions (1) |
--------------- {ò,o} ¤ nimic n'a fost niciodată ¤ 부엉이 ¤ Steven Fify über alles §§ ¤ http://www.moto-trip.com/ |
oldnoob Transactions (0) |
Message édité par oldnoob le 20-07-2006 à 09:38:02 |
blizzard 2 Transactions (0) | Gamekult? |
the_big_poulet Flying chickenTransactions (0) | |
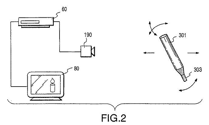
Mogwaiii L'enfer, c'est les autres.Transactions (0) | Petite information pour signaler que Sony Computer Entertainment vient de déposer un brevet (numéro 2006-178948) pour une nouvelle technologie de capture de mouvements, qui sera probablement utilisée dans le cadre du développement de la nouvelle génération de l'Eye Toy prévu sur Playstation. D'après les premiers détails fournis par le constructeur, le système permettra de capter les mouvements et positions d'un véritable objet (le joueur, ou un objet au choix par exemple) dans un espace en 3D à l'aide d'une seule et unique caméra 2D, et non pas deux caméras comme c'est généralement le cas dans un tel dispositif. Ces enregistrements seront ensuite analysés et retranscrits sur un objets virtuel dans le jeu. Ce petit appareil pourrait se révéler être un élément clé de la PlayStation 3, après la déception de l'annonce concernant la manette détecteur de mouvements de la future console de salon de Sony durant l'E3 2006 aux Etats-Unis. A suivre.
Message cité 1 fois Message édité par Mogwaiii le 20-07-2006 à 17:20:30 |
the_big_poulet Flying chickenTransactions (0) |
|
Mogwaiii L'enfer, c'est les autres.Transactions (0) | je vois pas le mal partout je suis tres content, l'image du Wiimote c'est juste pour montrer que ca ressemble beaucoup, mais pour moi, que Sony copie, ou pas je m'en fou. Pour nous (acheteurs), c'est tout benef ce genre de chose, exemple si Sony avait pas copié Nintendo on serait resté à la croix directionnelle et pas de vibreur sur PS2, pas top quand meme. |
the_big_poulet Flying chickenTransactions (0) |
|
Mogwaiii L'enfer, c'est les autres.Transactions (0) | oui, mais bon c'est toujours sympa d'avoir ces options dispo pour les developpeurs qui veulent l'utiliser, mais contrairement à la Wii, la PS3 base pas tout sur ca, c'est d'abord des jeux "classiques", le reste c'est bonus |
bichoco Transactions (0) | marrant...cette "info" vient d'un site qui a repris un brevet de sony datant de kkles années (et dont certains avait parlé lors de la presentation de la wiimote au tgs) et dont ils ont modifié la date histoire d'en faire une news
Message édité par bichoco le 20-07-2006 à 19:39:38 |
Publicité | Posté le ![]() ![]() |

| Sujets relatifs | |
|---|---|
| [Vds] Lot NGPC & Jeux SFam (Prix Sacrifies!!!) [Last Maj: 17/06] | [VDS] [ECH] Famicom/SFC/SNES/MD/MS MAJ |
| [Topic retraite] XBOX 360 - Game Over (RIP 2005 - 2016) | ==> Ma brocante à MOI de TOUT!!! <== MAJ > PHOTOS... |
| Topic des streaming sur les jeux Video | [ACH] nintendo ds + mario ds [topic clos] |
| topic en caps + spam | Topic Prey rescussité ! finit de prier |
| Plus de sujets relatifs à : [Topic Unik] PS3 | La old-gen en a encore dans le ventre ! | |





